Ракета сигнала бедствия - Светодымовые составы
Ракета сигнала бедствия
Специализированные пиротехнические средства, которые оснащены соответствующими пироэлементами из цветного огня и предназначены для организации бесперебойной подачи сигнала бедствия с различных кораблей и шлюпки.
Р.с.б. по своим конструктивным особенностям состоит непосредственно из разработанной пусковой гильзы, которая устанавливается в реактивный двигатель с качественным терочным воспламенительным узлом и соответствующим сигнальным блоком.
Для существенного увеличения показателей эффективности и одновременно надежности действия используемый сигнальный блок выполняется последовательно из уже размещенных в специализированной металлической оболочке сигнальных звездков с оснащенным центральным каналом. В каждый из них разработчики обязательно монтируют замедлитель. Между звездками находится пороховой высокоэффективный вышибной заряд и прокладка в частности.
Справка: при создании сигнальных звезд используется специализированный состав красного огня.
На практике встречается несколько видов специализированных парашютных сигнальных ракет для подачи бедствия. П.с.р. состоит из:
- соответствующего мощного реактивного двигателя, устанавливается в алюминиевую оболочку;
- сигнальных звездков;
- универсального парашюта;
- качественной пусковой трубки со встроенным воспламенительным механизмом.
С целью существенного увеличения показателей эффективности и одновременного получения соответствующего прерывистого свечения сигнальные звездки разрабатываются с последовательными специально созданными слоями замедлительного состава. Между слоями размещается асбестовая прокладка с проделанным по центру отверстием, при этом наружная поверхность покрывается слоем стандартного жидкого стекла.
Реактивный сигнальный патрон
Устройство, состоящее из пироэлементов сигнального огня или дымовой комбинации. Создана серия изделий цветного огня, пиротехнические элементы которых раскрываются на высоте. Калибры реактивных сигнальных патронов бывают 30, 40, 50 мм.
Патроны калибра 30 мм производятся 1-2-3-звездными с алыми, желтыми и зелеными цветами огней. Дым может быть синего и красного цвета. В многозвездных патронах дымовые шашки выстреливаются из ракеты при помощи 2 зарядов массой по полграмма. Эти заряды находятся на верхних и нижних торцах дымовых шашек.
Изделия калибра 40 мм используются для служб ВВС и имеют цвета огня: белого, желтого, алого, зеленого. Их могут производить как однозвездными (парашютными), так и двухзвездными. Парашютные устройства выбрасывают горящий элемент вместе с парашютом. Он постепенно раскрывается и парит на высоте.
Сборка пиротехнических средств
Этап производственного процесса, в результате которого выходит готовая продукция в виде пиротехнического средства, соответствующего всем техническим требованиям.
На этом этапе производства происходит соединение всех предусмотренных элементов в закономерной последовательности:
- Подготовка корпусных деталей, частей.
- Непосредственно сама сборка.
- Покраска, лакировка.
- Маркировка изделия.
- Упаковка.
- Создание партий.
- Испытание изделия.
- Сдача продукции покупателю.
Создание готовых пиротехнических изделий массового производства (охотничьи патроны, дымовые шашки, осветительные мины и т.д.) происходит на автоматизированных и механизированных цехах, которые оснащены современным техническим оборудованием и различными инструментами. Но несмотря на это, все же процесс сборки является трудоемким и энергозатратным, поэтому более половины себестоимости изделия (около 60%) исходит именно из этого этапа изготовления.
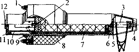
Светодымящий буй
Сигнальное пиротехническое средство для указания местонахождения объекта на воде. С.б. представляет собой корпус с шашкой из дымового пиротехнического состава, светильником и поплавком. С.б. предназначен для использования в дневных и ночных условиях.
1 - светильник; 2 - электровоспламенитель; 3 вилка водноналивной батареи; 4 — отсек; 5 - контактная колодка; 6 - груз; 7 - дымовой элемент; 8 - поплавок; 9 - гайка; 10 - корпус; 11 - крышка; 12 - колпачок
С.б. устанавливается на судне в специальное крепление. Перед установкой отворачивается отсек, батареи соединяются вилкой с контактами светильников, на батарею устанавливается подставка и наворачивается отсек. Закрепленный и подготовленный буй приводится в действие автоматически при сбрасывании круга на воду. При опускании буя на воду открываются пробки батареи, в нее попадает вода, батареи начинают питать лампы светильников и электрозапалы воспламенительного узла. После срабатывания электрозапалов загорается воспламенительный состав, форс огня которого зажигает дымовой состав. Давлением газов разрушается диафрагма в крышке и сбрасывается колпачок. Продукты сгорания выходят в атмосферу, образуя дым оранжевого цвета. Время действия светового сигнала не менее 45 мин, а дымового - не менее 15 мин.
Сера
При обычной температуре представляет собой твердое вещество желтого цвета. В воде не растворяется, растворяется в сероуглероде, бензоле, эфире, анилине, феноле и спирте. В соединениях С. проявляет валентность от -2 до +6. Она химически активна и непосредственно соединяется почти со всеми элементами за исключением азота, йода, золота, платины и инертных газов. Получают С. из самородных руд окислением h3S и восстановлением SO2. Сера, выплавленная непосредственно из серных руд, называется природной комовой, полученная из сероводорода и сернистого ангидрида - газовой комовой, природная комовая С., очищенная перегонкой - рафинированной, сконденсированная из паров при температуре выше плавления и затем разлитая в формы - черенковой. Особо высоко дисперсная сера носит название коллоидной. С. является доступным, дешевым, безопасным, стабильным при хранении, легко воспламеняемым продуктом. Вследствие этого она применяется в пиротехнике очень давно. Сера - один из основных компонентов дымного (черного) пороха; применяется при производстве спичек, железнодорожных петард, термитно-зажигательных и инсектицидных составов («серных шашек»), В составах С. может выполнять роль горючего (в смеси с окислителем) и окислителя (в смеси с горючим). В первом случае образуется двуокись и трехокись С., в последнем - сульфид. В промышленности следует применять очищенную порошкообразную С., получаемую дроблением кристаллических частиц ромбической формы, образующихся из расплавленной С. с использованием в качестве нейтрализаторов окиси цинка или карбоната кальция. Несмотря на относительно низкую температуру воспламенения (232-300°С), С. является безопасной в обращении. Введение нескольких процентов ее облегчает воспламенение многих составов. При построении рецептур составов с С. следует избегать применения хлората, бромата и перманганата калия, поскольку такие смеси чувствительны к удару, трению и при определенных условиях могут самовоспламеняться.
Свистящие составы
Пиротехнические составы, сгорающие с большой скоростью и газообразованием и образующие в трубках звуковые колебания определенной частоты. Частота звуковых колебаний тем выше, чем больше скорость горения и газообразования и тем меньше, чем длиннее трубка. Такой эффект получается при горении составов хлорат калия (бария)-галловая кислота (75:25). Кроме галловой кислоты в С.с. используются резорцин, флороглюцин, пикриновая кислота, пикрат калия. Следует иметь в виду, что С.с. (особенно на основе пикриновой кислоты и пикрата калия) обладают высокой чувствительностью к механическим воздействиям и могут взрываться.
Светодымовые составы
При изготовлении высотных фейерверочных изделий применяют пиротехнические элементы, сгорание которых приводит к образованию пламя разных цветов, искр, звуков и т.д.
Для увеличения действия и яркости фейерверков был разработан уникальный состав, содержащий лаковую смесь ацетона с NaNO3, МПФ-2, СКФ-32. Данный фейерверк образует на высоте красочное пламя и дымовой шлейф. При замене некоторого состава пироэлементов (МПФ-2 на ПАМ-2, добавление 10% ферросилиция) позволяет добавить в вышеперечисленный набор эффектов красочные крупные искры, которые светятся около 3 секунд.


